panchengwei - 2012-4-12 16:54:00
RAV 24.00.03.28
RFW 24.00.05.03
RSA 01.00.01.70
W7 64位家庭普通版
IE 9


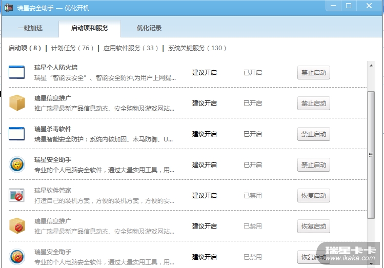
现象为原先卸载RSA前曾优化过,设置图中下部的3进程不随机启动。
前一次卸载为不保留配置,删安装目录
图中的软件管家目前电脑中未安装。
用户系统信息:Mozilla/5.0 (Windows NT 6.1; WOW64) AppleWebKit/535.19 (KHTML, like Gecko) Chrome/18.0.1025.142 Safari/535.19
panchengwei - 2012-4-12 17:14:00
图中最后3项是我上次卸载RSA前的设置,当时装有软件管家
这次重装RSA,不应该出现最下面的3项
不保留配置卸载重装复现
不保留配置修复复现
瑞星工程师12 - 2012-4-13 10:42:00
问题已收集反馈。感谢您对瑞星的支持!
panchengwei - 2012-4-14 9:57:00
01.00.01.71复测


红框内容当前电脑未安装
篮框内容为过去安装过RSA,但是不保留配置和安装目录,卸载以前的设置,重新安装RSA后出现了重复的现象,且设置相互矛盾。
绿框的RAV和RFW2012图标不对
panchengwei - 2012-4-14 12:00:00
周一、二出差,无法上网回帖:kaka6:
瑞星工程师12 - 2012-4-16 11:18:00
问题已解决,请将瑞星安全助手升级至最新版本观察。
感谢您对瑞星的支持!
© 2000 - 2026 Rising Corp. Ltd.