shideleiwfe - 2008-9-29 6:37:00
昨天晚上我们学校局域网上不去了,别人的机子本地连接都正常,只有我的本地连接周期性的断开,有时候还很频繁,都可以达到50HZ,有没有人遇到过这种情况,不是网卡的问题,笔记本差别的网线可以,也不该是网线的问题吧,现在不再断开了,只有昨天晚上断开,不断地断开,我装了彩影的ARP,现在问题只剩下路由器,是不是路由器的毛病?还是ARP攻击没拦住?还有一点,我的网卡连接数改成10M就能连接,100M就会不断地断开
用户系统信息:Mozilla/4.0 (compatible; MSIE 7.0; Windows NT 5.1; QQDownload 1.7)附件:
SREngLOG.log
shideleiwfe - 2008-9-29 15:58:00
没有知道吗
tjcum210210 - 2008-9-29 20:46:00
Explorer.exe没有微软公司名了,而且被作为特殊扫描,去dllcache文件夹找到后替换
wanmeng - 2008-9-29 21:19:00
路由器与你的网卡端口速率不配的问题,可能你的路由器端口速率只有10M,而如果你网卡速率设为100M就会造成两者速率不配。希望你从新改为10M吧。
xqe - 2008-9-29 23:02:00
原帖由 shideleiwfe 于 2008-9-29 6:37:00 发表
我的网卡连接数改成10M就能连接,100M就会不断地
是不是网线问题啊~
Windy520 - 2008-9-30 12:24:00
我也是这个问题,正烦着呢,现在使用无线的
shideleiwfe - 2008-10-1 19:21:00
现在回家了,开学再说吧,有知道的哥们说下
Windy520 - 2008-10-2 11:51:00
哥们,看看是3楼的问题不,
Explorer.exe没有微软公司名了,而且被作为特殊扫描,去dllcache文件夹找到后替换
不是就是网线问题
我换了网线好了
shideleiwfe - 2008-10-2 19:33:00
我装过VISTA TRANS EXPLORER被替换了
超级游戏迷 - 2008-10-2 19:36:00
[ypx / ypx][Stopped/Manual Start]
<\??\C:\WINDOWS\system32\drivers\ypx.sys><N/A>
什么DD?建议禁用这个驱动程序后重启电脑看看是否有改善。
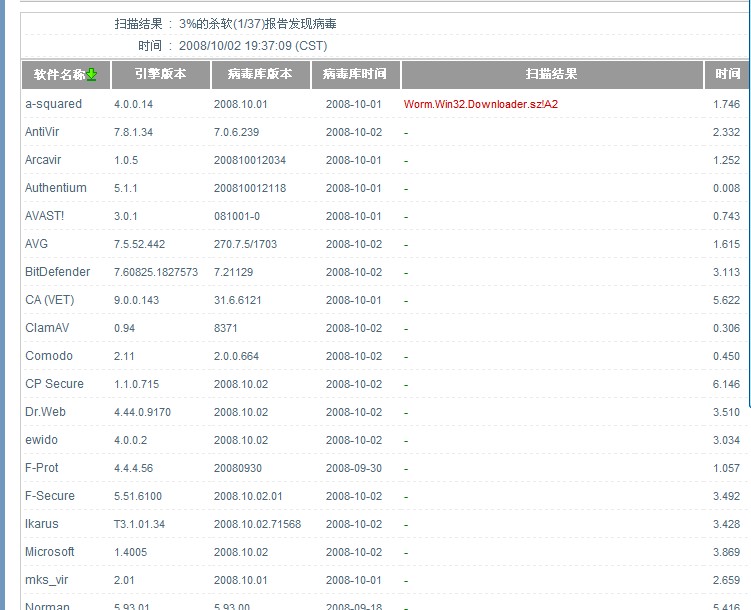
shideleiwfe - 2008-10-2 19:40:00

附件:
您所在的用户组无法下载或查看附件附件:
explorer.rar
© 2000 - 2026 Rising Corp. Ltd.