1   1  /  1  页   跳转

[求助] 关于tray.exe连接网络的问题

关于tray.exe连接网络的问题

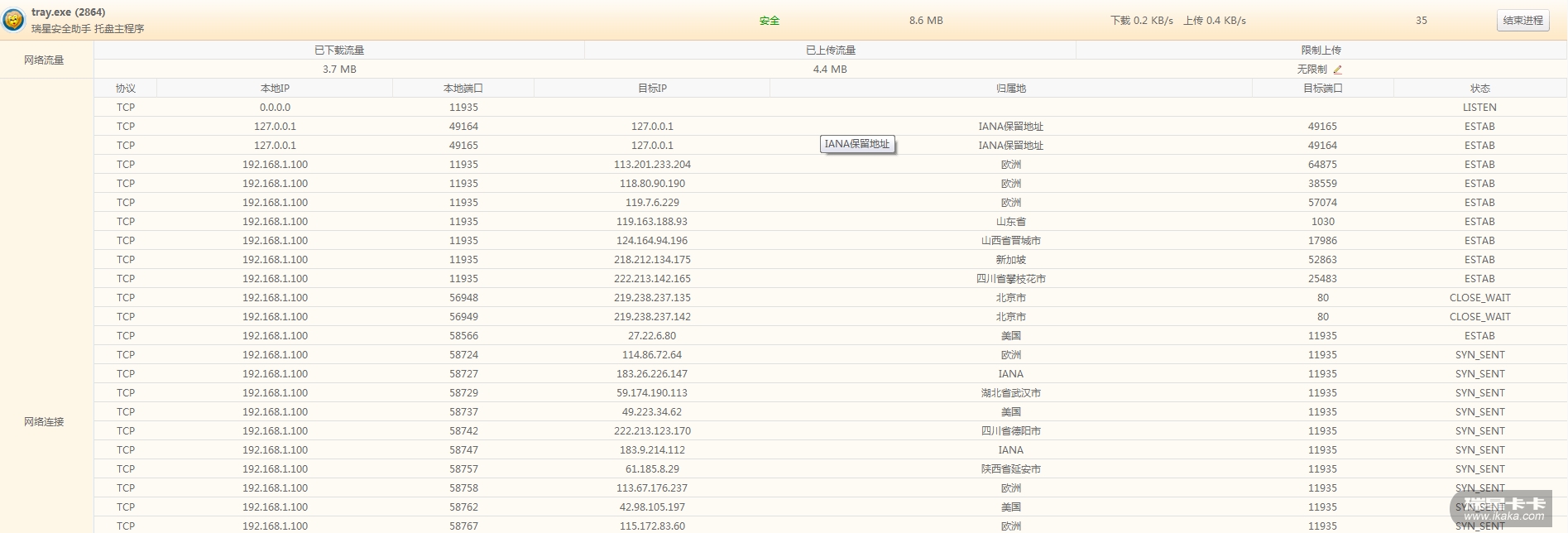
前一阵  我的机器开机时间突然变长,达到5-6分钟,以前一般在1分钟之内,而且会突然卡起来,然后就一直查找原因,今天发现这个tray.exe程序一直读写硬盘是导致卡的原因,后来发现这个。
这个是我的截图 用的QQ截的  是在卡卡的进程管理界面里截取的,请工程师解决下
图片怎么不好发? 请告诉我邮箱  我直接发到你们邮箱里
这里我说一下情况  就是tray.exe这个程序 一直在连接网络 地址显示有欧洲  新加坡 美国==  还不停的换。

用户系统信息:Mozilla/5.0 (compatible; MSIE 9.0; Windows NT 6.1; Trident/5.0)
分享到:
gototop
 

回复: 关于tray.exe连接网络的问题

截图刚刚会发  现在补发

附件附件:

下载次数:1199
文件类型:image/x-png
文件大小:
上传时间:2012-2-13 13:53:06
描述:png



gototop
 

回复: 关于tray.exe连接网络的问题

是的  装了瑞星防火墙和瑞星杀毒 但是慢到开机5-6分钟也太慢了吧?
gototop
 
1   1  /  1  页   跳转
页面顶部
Powered by Discuz!NT