界面模式
登录
注册
会员
帮助
加入收藏夹
客服微信
瑞星卡卡安全论坛
企业产品讨论区
瑞星2009公测
瑞星2009测试版问题反馈
瑞星杀毒软件2009公测
没有检测到的病毒....
企业产品讨论区
瑞星安全云终端软件
瑞星ESM防病毒终端安全防护系统
瑞星杀毒软件网络版(含Linux)
瑞星智能沙箱分析/恶意代码威胁监测分析/上网行为管理
瑞星防毒墙5.0、瑞星下一代防火墙
瑞星虚拟化恶意代码防护系统
个人产品讨论区
瑞星之剑
瑞星防病毒安全软件
瑞星杀毒软件
瑞星个人防火墙V16
瑞星AI网络威胁检测引擎、威胁情报及网安知识图谱
瑞星其他产品
技术交流区
反病毒/反流氓软件论坛
可疑文件交流
恶意网站交流
入侵防御(HIPS)
系统软件
硬件交流
综合娱乐区
影音贴图
瑞星安全游戏
活动专区
本站站务区
站务
瑞星“1+2”全新解决方案巡展在广州画上圆满句号
叶院长揭秘:瑞星如何运用AI技术革新网络安全
俄乌冲突加剧网络攻击风险 白俄罗斯政府遭APT攻击
瑞星ESM防病毒系统助力矿业大学筑牢网络安全防线
实力拉满 瑞星第五十次通过VB100测评
携手老友,拥抱新精彩 —— 新论坛新活动,感谢你的陪伴
护航司法,瑞星助力山西省高院构建安全防线
人工智能在网络安全领域的风险和机遇
1
1
/ 1 页
跳转
页
[病毒问题] 没有检测到的病毒....
收藏
qihuakai
飘泊而立狮
帖子:
691
注册:
2008-09-09
来自:
中国最南端
发表于: 2008-12-04 09:24
|
只看楼主
短消息
资料
字号:
小
中
大
1楼
没有检测到的病毒....
QQ截图未命名.jpg
(13.51 K)
2008-12-4 9:24:25
未命名.jpg
(16.78 K)
2008-12-4 9:24:25
用户系统信息:Mozilla/4.0 (compatible; MSIE 6.0; Windows NT 5.1; SV1; .NET CLR 2.0.50727)
附件:
文件名:
Adobe-Acrobat-9-PRO-Extended-Keygen-Only-EDGE-gHanchi2oOo.zip
下载次数:1088
文件类型:application/x-zip-compressed
文件大小:
上传时间:2008-12-4 9:24:25
描述:zip
欢迎加入瑞星用户交流群
欢迎光临凯软工作室
【用户联名信】为瑞星2012提建议,别让软件构建完全,就晚了!
http://bbs.ikaka.com/showtopic-8978957.aspx
分享到:
短消息
资料
加为好友
全部帖子
性别:
生日:
1985-11-24
精华:
0
威望:
1357
贡献:
180
金钱:
0
qihuakai@msn.cn
497181118
状态:
离线
等级:
piao2008
横据古稀狮
帖子:
10181
注册:
2008-05-04
来自:
东北那嘎达
发表于: 2008-12-04 09:30
|
短消息
资料
字号:
小
中
大
2楼
回复:没有检测到的病毒....
你使用瑞星的当前版本是多少?
短消息
资料
加为好友
全部帖子
性别:
精华:
0
威望:
17302
贡献:
0
金钱:
44.41
状态:
离线
等级:
qihuakai
飘泊而立狮
帖子:
691
注册:
2008-09-09
来自:
中国最南端
发表于: 2008-12-04 09:41
|
只看楼主
短消息
资料
字号:
小
中
大
3楼
回复:没有检测到的病毒....
版本20.73.22
欢迎加入瑞星用户交流群
欢迎光临凯软工作室
【用户联名信】为瑞星2012提建议,别让软件构建完全,就晚了!
http://bbs.ikaka.com/showtopic-8978957.aspx
短消息
资料
加为好友
全部帖子
性别:
生日:
1985-11-24
精华:
0
威望:
1357
贡献:
180
金钱:
0
qihuakai@msn.cn
497181118
状态:
离线
等级:
piao2008
横据古稀狮
帖子:
10181
注册:
2008-05-04
来自:
东北那嘎达
发表于: 2008-12-04 09:49
|
短消息
资料
字号:
小
中
大
4楼
回复:没有检测到的病毒....
我使用多款杀毒软件测试你附件中的文件,不报毒呀。
不会是金山误报了吧??
短消息
资料
加为好友
全部帖子
性别:
精华:
0
威望:
17302
贡献:
0
金钱:
44.41
状态:
离线
等级:
qihuakai
飘泊而立狮
帖子:
691
注册:
2008-09-09
来自:
中国最南端
发表于: 2008-12-04 09:55
|
只看楼主
短消息
资料
字号:
小
中
大
5楼
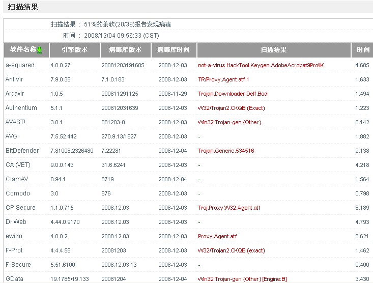
回复:没有检测到的病毒....
不会吧?????你别蒙我了.
我的扫描结果 :
文件信息 .jpg
(26.34 K)
2008-12-4 9:59:47
扫描结果 .jpg
(95.5 K)
2008-12-4 9:59:47
扫描结果 2.jpg
(100.85 K)
2008-12-4 9:59:47
扫描结果 3.jpg
(12.29 K)
2008-12-4 9:59:47
qihuakai 最后编辑于 2008-12-04 09:59:47
欢迎加入瑞星用户交流群
欢迎光临凯软工作室
【用户联名信】为瑞星2012提建议,别让软件构建完全,就晚了!
http://bbs.ikaka.com/showtopic-8978957.aspx
短消息
资料
加为好友
全部帖子
性别:
生日:
1985-11-24
精华:
0
威望:
1357
贡献:
180
金钱:
0
qihuakai@msn.cn
497181118
状态:
离线
等级:
newcenturymoon
社区嘉宾
帖子:
15158
注册:
2005-08-03
来自:
发表于: 2008-12-04 10:40
|
短消息
资料
字号:
小
中
大
6楼
回复:没有检测到的病毒....
有的杀毒软件会将注册机列为病毒 ...
此样本没发现恶意行为
短消息
资料
加为好友
全部帖子
性别:
生日:
1986-03-11
精华:
8
威望:
31228
贡献:
692
金钱:
0
状态:
离线
等级:
<<
上一主题
|
下一主题
>>
1
1
/ 1 页
跳转
页
论坛跳转...
企业产品讨论区
瑞星安全云终端软件
瑞星ESM防病毒终端安全防护系统
瑞星杀毒软件网络版(含Linux)
北方区
华东区
华南区
木马入侵拦截有奖体验专区
瑞星2009版查杀引擎测试
瑞星2009测试版问题反馈
瑞星杀毒软件2009公测
瑞星个人防火墙2009公测
瑞星全功能安全软件2009公测
瑞星智能沙箱分析/恶意代码威胁监测分析/上网行为管理
瑞星防毒墙5.0、瑞星下一代防火墙
瑞星虚拟化恶意代码防护系统
个人产品讨论区
瑞星之剑
瑞星防病毒安全软件
瑞星杀毒软件
瑞星安全联盟论坛
瑞星杀毒软件V16+
V16+新引擎测试专区
瑞星全功能安全软件
瑞星杀毒软件2011
瑞星个人防火墙V16
广告过滤
瑞星个人防火墙2011
瑞星AI网络威胁检测引擎、威胁情报及网安知识图谱
瑞星其他产品
瑞星手机安全助手
瑞星路由安全卫士
路由系统内核漏洞
APP保镖
瑞星安全浏览器
瑞星安全助手
卡卡上网安全助手
瑞星软件管家
瑞星加密盘
账号保险柜5.0
瑞星专业数据恢复
技术交流区
反病毒/反流氓软件论坛
菜鸟学堂
安全技术讨论
可疑文件交流
恶意网站交流
瑞星云安全网站联盟专版
每日网马播报
入侵防御(HIPS)
系统软件
硬件交流
综合娱乐区
Rising茶馆
影音贴图
瑞星安全游戏
凡人修真
华人德州扑克
一球成名
星际世界
神仙道
赢家竞技
梦幻飞仙
三国演义
仙落凡尘
秦美人
攻城掠地
女神联盟
风云无双
傲视九重天
深渊
魅影传说
热血屠龙
雷霆之怒
大天使之剑
传奇霸业
无上神兵
斗破沙城
全民裁决
蛮荒之怒2
活动专区
瑞星积分商城
实习生专区
实习生交流区
实习生签到区
实习生考核区
“安全之狮”校园行活动专版
历史活动
论坛9周年活动专区
关注灾情 同心抗灾
本站站务区
站务
版主之家[限]
禁言禁访记录
待审核
瑞星客户俱乐部[限]
应对Cryptolocker病毒之类敲诈者的办法 by baohe
iMac一体机装MAC/WIN10双系统的亲身体验 by baohe
360卫士、新毒霸破坏瑞星杀毒导致升级失败(升级提示XXXXXXX 800006)的解决办法
iMac一体机装MAC/WIN10双系统的亲身体验 by baohe
招贤纳士 网罗人才——瑞星网安欢迎您的加入
iMac一体机装MAC/WIN10双系统的亲身体验 by baohe
我的主题
我的帖子
我的精华
我的好友
文本模式