界面模式
登录
注册
会员
帮助
加入收藏夹
客服微信
瑞星卡卡安全论坛
个人产品讨论区
瑞星杀毒软件
瑞星杀毒软件2011
磁盘底层访问
企业产品讨论区
瑞星安全云终端软件
瑞星ESM防病毒终端安全防护系统
瑞星杀毒软件网络版(含Linux)
瑞星智能沙箱分析/恶意代码威胁监测分析/上网行为管理
瑞星防毒墙5.0、瑞星下一代防火墙
瑞星虚拟化恶意代码防护系统
个人产品讨论区
瑞星之剑
瑞星防病毒安全软件
瑞星杀毒软件
瑞星个人防火墙V16
瑞星AI网络威胁检测引擎、威胁情报及网安知识图谱
瑞星其他产品
技术交流区
反病毒/反流氓软件论坛
可疑文件交流
恶意网站交流
入侵防御(HIPS)
系统软件
硬件交流
综合娱乐区
影音贴图
瑞星安全游戏
活动专区
本站站务区
站务
瑞星“1+2”全新解决方案巡展在广州画上圆满句号
叶院长揭秘:瑞星如何运用AI技术革新网络安全
俄乌冲突加剧网络攻击风险 白俄罗斯政府遭APT攻击
瑞星ESM防病毒系统助力矿业大学筑牢网络安全防线
实力拉满 瑞星第五十次通过VB100测评
携手老友,拥抱新精彩 —— 新论坛新活动,感谢你的陪伴
护航司法,瑞星助力山西省高院构建安全防线
人工智能在网络安全领域的风险和机遇
1
1
/ 1 页
跳转
页
[求助] 磁盘底层访问
收藏
rstgl
健康舞勺狮
帖子:
233
注册:
2009-01-01
来自:
发表于: 2009-01-02 10:26
|
只看楼主
短消息
资料
字号:
小
中
大
1楼
磁盘底层访问
C:\WINDOWS\system32\wbem\wmiprvse.exe磁盘底层访问是否正常?系统加固不再记录日志,而且日志不能清除
Snap1.jpg
(62.91 K)
2009-1-2 10:25:46
用户系统信息:Mozilla/4.0 (compatible; MSIE 6.0; Windows NT 5.1; SV1)
分享到:
短消息
资料
加为好友
全部帖子
性别:
精华:
0
威望:
472
贡献:
185
金钱:
0
状态:
离线
等级:
帅哥阿福
雄霸杖朝狮
帖子:
21071
注册:
2006-03-29
来自:
米兰
发表于: 2009-01-02 10:34
|
短消息
资料
字号:
小
中
大
2楼
回复:磁盘底层访问
底层磁盘操作应该是是不通过windows,由软件自带磁盘格式分析代码来直接修改的。
如图所示的信息,建议楼主找到此文件,提交到这里,或者提交给瑞星分析,地址如下:
http://mailcenter.rising.com.cn/index.shtml
╭∩╮(︶︿︶)╭∩╮
短消息
资料
加为好友
全部帖子
性别:
精华:
0
威望:
36658
贡献:
9315.55
金钱:
0.88
状态:
离线
等级:
rstgl
健康舞勺狮
帖子:
233
注册:
2009-01-01
来自:
发表于: 2009-01-02 12:26
|
只看楼主
短消息
资料
字号:
小
中
大
3楼
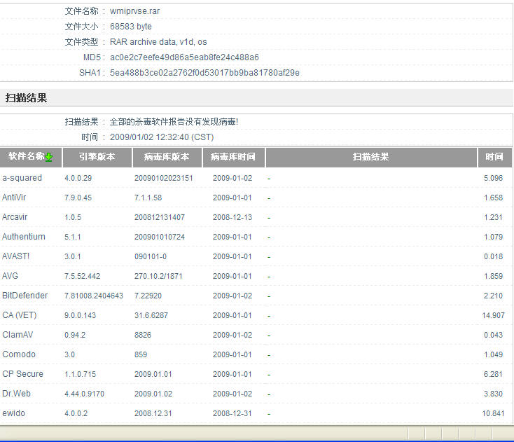
回复: 磁盘底层访问
virscan查无毒
附件:
文件名:
wmiprvse.rar
下载次数:207
文件类型:application/octet-stream
文件大小:
上传时间:2009-1-2 12:25:50
描述:rar
短消息
资料
加为好友
全部帖子
性别:
精华:
0
威望:
472
贡献:
185
金钱:
0
状态:
离线
等级:
rstgl
健康舞勺狮
帖子:
233
注册:
2009-01-01
来自:
发表于: 2009-01-02 12:35
|
只看楼主
短消息
资料
字号:
小
中
大
4楼
回复: 磁盘底层访问
Snap1.jpg
(78.23 K)
2009-1-2 12:34:31
短消息
资料
加为好友
全部帖子
性别:
精华:
0
威望:
472
贡献:
185
金钱:
0
状态:
离线
等级:
rstgl
健康舞勺狮
帖子:
233
注册:
2009-01-01
来自:
发表于: 2009-01-02 12:49
|
只看楼主
短消息
资料
字号:
小
中
大
5楼
回复: 磁盘底层访问
C:\WINDOWS\system32\wbem\wmiprvse.exe这个程序应该是无毒,也许是它加载的模块的事?这个太多了,不好查。user帐户用瑞星防火墙查不了它的模块,用江民进程查看器查了没有异常。
Snap1.jpg
(32.75 K)
2009-1-2 12:49:19
短消息
资料
加为好友
全部帖子
性别:
精华:
0
威望:
472
贡献:
185
金钱:
0
状态:
离线
等级:
rstgl
健康舞勺狮
帖子:
233
注册:
2009-01-01
来自:
发表于: 2009-01-03 15:31
|
只看楼主
短消息
资料
字号:
小
中
大
6楼
回复: 磁盘底层访问
怎么没有回复?我应该允许还是阻止呢?
短消息
资料
加为好友
全部帖子
性别:
精华:
0
威望:
472
贡献:
185
金钱:
0
状态:
离线
等级:
LMhust
特邀体验者
帖子:
2953
注册:
2006-03-12
来自:
发表于: 2009-01-03 16:14
|
短消息
资料
字号:
小
中
大
7楼
回复:磁盘底层访问
在系统加固中把“访问底层磁盘”前的勾去掉
短消息
资料
加为好友
全部帖子
性别:
生日:
1986-02-15
精华:
0
威望:
6644
贡献:
1060
金钱:
0
状态:
离线
等级:
rstgl
健康舞勺狮
帖子:
233
注册:
2009-01-01
来自:
发表于: 2009-01-03 16:28
|
只看楼主
短消息
资料
字号:
小
中
大
8楼
回复: 磁盘底层访问
楼上的你还不如说将监控关了呢?
短消息
资料
加为好友
全部帖子
性别:
精华:
0
威望:
472
贡献:
185
金钱:
0
状态:
离线
等级:
rstgl
健康舞勺狮
帖子:
233
注册:
2009-01-01
来自:
发表于: 2009-01-03 16:59
|
只看楼主
短消息
资料
字号:
小
中
大
9楼
回复: 磁盘底层访问
关闭该服务,停止wmiprvse.exe启动对系统有不好的影响吗?这个进程只在管理员登录后才会出现,平常user登录并不出现。
短消息
资料
加为好友
全部帖子
性别:
精华:
0
威望:
472
贡献:
185
金钱:
0
状态:
离线
等级:
<<
上一主题
|
下一主题
>>
1
1
/ 1 页
跳转
页
论坛跳转...
企业产品讨论区
瑞星安全云终端软件
瑞星ESM防病毒终端安全防护系统
瑞星杀毒软件网络版(含Linux)
北方区
华东区
华南区
木马入侵拦截有奖体验专区
瑞星2009版查杀引擎测试
瑞星2009测试版问题反馈
瑞星杀毒软件2009公测
瑞星个人防火墙2009公测
瑞星全功能安全软件2009公测
瑞星智能沙箱分析/恶意代码威胁监测分析/上网行为管理
瑞星防毒墙5.0、瑞星下一代防火墙
瑞星虚拟化恶意代码防护系统
个人产品讨论区
瑞星之剑
瑞星防病毒安全软件
瑞星杀毒软件
瑞星安全联盟论坛
瑞星杀毒软件V16+
V16+新引擎测试专区
瑞星全功能安全软件
瑞星杀毒软件2011
瑞星个人防火墙V16
广告过滤
瑞星个人防火墙2011
瑞星AI网络威胁检测引擎、威胁情报及网安知识图谱
瑞星其他产品
瑞星手机安全助手
瑞星路由安全卫士
路由系统内核漏洞
APP保镖
瑞星安全浏览器
瑞星安全助手
卡卡上网安全助手
瑞星软件管家
瑞星加密盘
账号保险柜5.0
瑞星专业数据恢复
技术交流区
反病毒/反流氓软件论坛
菜鸟学堂
安全技术讨论
可疑文件交流
恶意网站交流
瑞星云安全网站联盟专版
每日网马播报
入侵防御(HIPS)
系统软件
硬件交流
综合娱乐区
Rising茶馆
影音贴图
瑞星安全游戏
凡人修真
华人德州扑克
一球成名
星际世界
神仙道
赢家竞技
梦幻飞仙
三国演义
仙落凡尘
秦美人
攻城掠地
女神联盟
风云无双
傲视九重天
深渊
魅影传说
热血屠龙
雷霆之怒
大天使之剑
传奇霸业
无上神兵
斗破沙城
全民裁决
蛮荒之怒2
活动专区
瑞星积分商城
实习生专区
实习生交流区
实习生签到区
实习生考核区
“安全之狮”校园行活动专版
历史活动
论坛9周年活动专区
关注灾情 同心抗灾
本站站务区
站务
版主之家[限]
禁言禁访记录
待审核
瑞星客户俱乐部[限]
还是给SIM卡设个PIN码吧 by baohe
年后勒索病毒活跃 瑞星提供全面分析与防范建议
连续13年!瑞星安全软件入选央采项目
卡卡论坛新手入门
应对Cryptolocker病毒之类敲诈者的办法 by baohe
360卫士、新毒霸破坏瑞星杀毒导致升级失败(升级提示XXXXXXX 800006)的解决办法
360卫士、新毒霸破坏瑞星杀毒导致升级失败(升级提示XXXXXXX 800006)的解决办法
应对Cryptolocker病毒之类敲诈者的办法 by baohe
2022网民网络安全感满意度调查活动,诚邀您的参与!
我的主题
我的帖子
我的精华
我的好友
文本模式